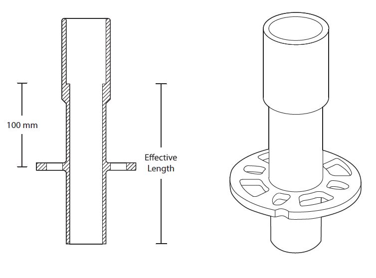
Base Collars



Base Collar
Universal's Uni-Lock Ringlock Base Collar provides the secure foundation of the scaffold. Complete with an 8-connection rosette, the base collar helps stabilize the ringlock scaffold system and sits over the top of a screwjack in order to provide a level, safe and secure base to the scaffold.
Heavy Load Capacity
All Uni-Lock Ringlock system scaffolding components have been designed and tested in accordance with OSHA, ANSI, and CSA guidelines. All maximum recommended loads are based on a safety factor at ultimate strength of 4:1. Contact us for a copy of the Uni-Lock Engineering manual with technical specifications on the tubing and loading capacities of the Uni-Lock Scaffolding System.